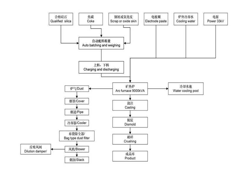
Le processus allant des matières premières au produit fini (FeSi) comprend le cycle de production complet de stockage des matières premières, d'acceptation du carburant, de dosage, de mélange, de réduction et de soutirage. L'équipement clé comprend le four à ferrosilicium, l'atelier de traitement des matières premières, le système de dosage automatique, le système d'alimentation, le système de circulation d'eau de refroidissement, le système de dépoussiérage, le système d'alimentation et de distribution d'énergie, le système d'automatisation, l'atelier de coulée de ferrosilicium et le système de manutention des produits finis. Le procédé est conforme aux exigences de la norme GB/T 2272.
